Ваш заказ 0 товаров Оплата и доставка
КОРЗИНА
Минск ул.Восточная 133, офис 203
Тел./факс (17)361-16-26
Cклад: д. Лесковка, ул. Совхозная, 7
Розница +375(17)516-11-20
Розница +375(29)159-60-06

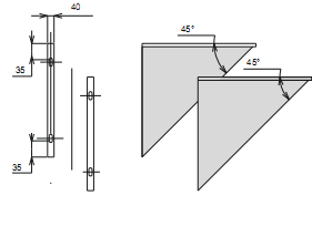
Площадка монтажная консоль

курс: 3.2
скидка:
Диаметр:
Цена: 3.20 руб.
шт.

Площадка монтажная консоль

- элемент служит для крепления вертикального дымохода (используется с позициями НМУ, НМО, НМС, НМП);

- сталь кислотостойкая нержавеющая;

- изготовитель ООО "Промышленные системы дымоходов", РБ, г.Кобрин;

- наличие товара на складе уточняйте у продавца;

- доставка товара осуществляется по договоренности с продавцом.

D = от 80 до 1000мм, возможно изготовление изделия нестандартных размеров

Вы смотрели